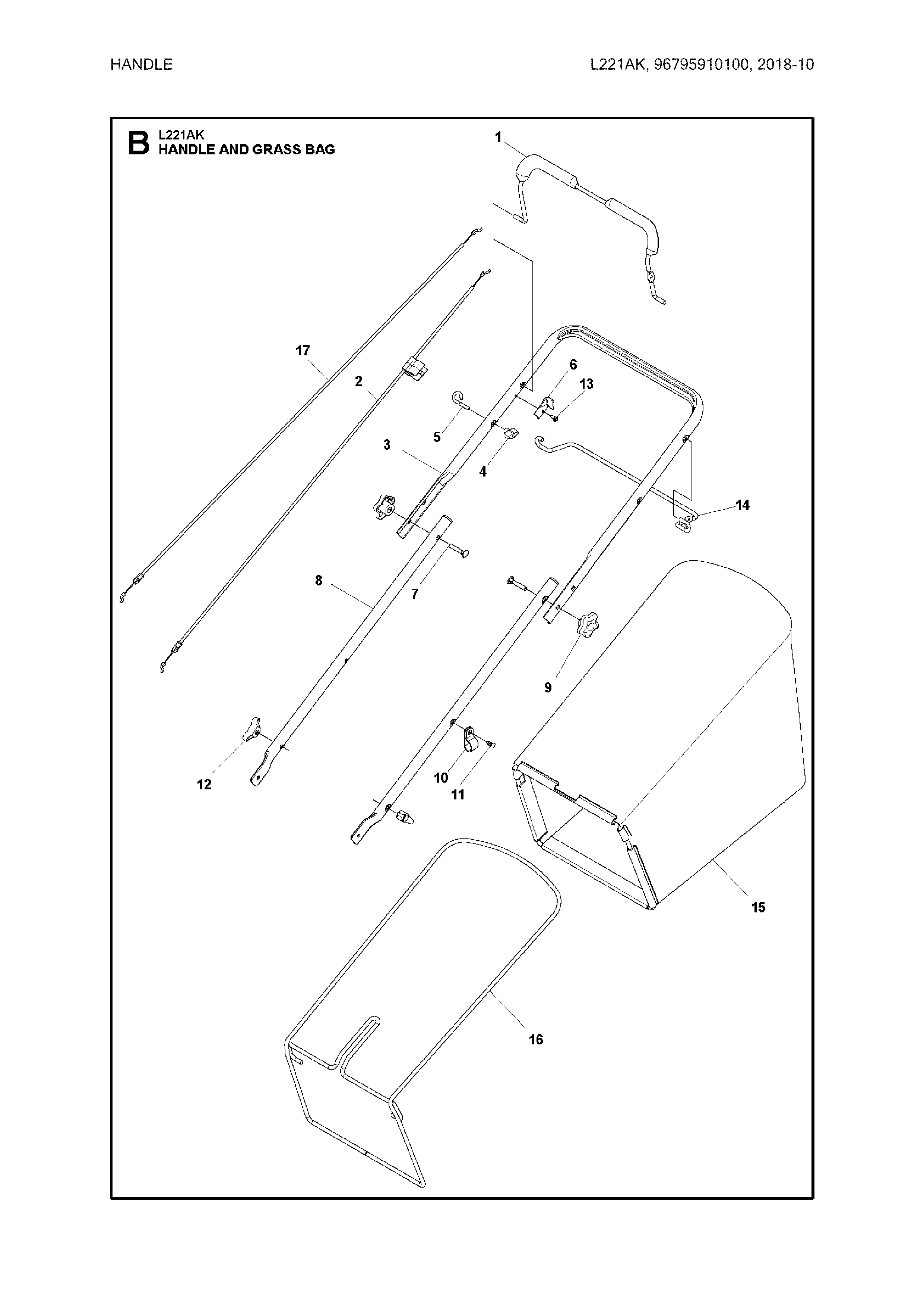
Official Husqvarna L221AK 96795910100 gas lawn mower parts Sears PartsDirect View larger
  • L221ak cheap
  • Husqvarna L221A 160 cc 21 in Self Propelled Gas Lawn Mower with Honda Engine at Lowes
  • L221ak cheap
  • Heavy Duty Drive Wheel 8 x 1.75 for Husqvarna L221AK L221AHK Lawn Mowers eBay
  • Official Husqvarna L221AK 96795910100 gas lawn mower parts Sears PartsDirect

L221ak cheap

L221ak cheap, Official Husqvarna L221AK 96795910100 gas lawn mower parts Sears PartsDirect cheap

$90.00

SAVE 50% OFF

$45.00

- +

Add to wishlist


Frasers Plus

$0 today, followed by 3 monthly payments of $15.00, interest free. Read More


L221ak cheap

Official Husqvarna L221AK 96795910100 gas lawn mower parts Sears PartsDirect

Ongisnow 582598601 LC221A Drive Control Cable for Husqvarna Craftsman Poulan L221AK Amazon Patio Lawn Garden

Husqvarna L221A 160 cc 21 in Self Propelled Gas Lawn Mower with Honda Engine at Lowes

SURPOUF 582598601 Drive Cable Compatible with Husqvarna L221A L221AK Lawn Replacement Part Amazon Patio Lawn Garden

Heavy Duty Drive Wheel 8 x 1.75 for Husqvarna L221AK L221AHK Lawn Mowers eBay

Official Husqvarna L221AK 96795910100 gas lawn mower parts Sears PartsDirect

Description

Product Name: L221ak cheap
Parts manuals and support for L 221AK Husqvarna CA cheap, OEM Husqvarna L221AK LC221A LC221R Cable MZR Dual cheap, Husqvarna OEM L221A L221AHK L221AK Belt.Drive.21Eff.AWD Amazon Patio Lawn Garden cheap, L221AK Belt SGL Bearings Ltd cheap, Husqvarna OEM L221A L221AHK L221AK Belt.Drive.21Eff.AWD Amazon Patio Lawn Garden cheap, Husqvarna L221AK Push Mower AWD Small Engine World cheap, Official Husqvarna L221AK 96795910100 gas lawn mower parts Sears PartsDirect cheap, SURPOUF 582598601 Drive Cable Compatible with Husqvarna L221A L221AK Lawn Replacement Part Amazon Patio Lawn Garden cheap, 587973001 587969201 Lawn Mower Idler Pulley Set for Husqvarna HU775ADW L221AK cheap, OEM Husqvarna L 221A L221AK LC221A Drive Cable 21 Eff Awd cheap, Official Husqvarna L221AK 96795910100 gas lawn mower parts Sears PartsDirect cheap, Ongisnow 582598601 LC221A Drive Control Cable for Husqvarna Craftsman Poulan L221AK Amazon Patio Lawn Garden cheap, Husqvarna L221A 160 cc 21 in Self Propelled Gas Lawn Mower with Honda Engine at Lowes cheap, SURPOUF 582598601 Drive Cable Compatible with Husqvarna L221A L221AK Lawn Replacement Part Amazon Patio Lawn Garden cheap, Heavy Duty Drive Wheel 8 x 1.75 for Husqvarna L221AK L221AHK Lawn Mowers eBay cheap, Official Husqvarna L221AK 96795910100 gas lawn mower parts Sears PartsDirect cheap, SURPOUF 582598601 Drive Cable Compatible with Husqvarna L221A L221AK Lawn Replacement Part Amazon Patio Lawn Garden cheap, OEM Husqvarna L221A L221AHK L221AK Belt.Drive.21Eff.Awd cheap, 2 Pack 580364609 All Wheel Drive Belt 21 53cm Compatible with Husqvarna LC353AWD LC221AH LC221A L321AHX L321AHE L321AH L221AK L221AHK L221A 226 HS99 Replace 580364605 Amazon Patio Lawn Garden cheap, OEM Husqvarna L221A L221AHK L221AK Cover.Belt Rear Baffle.21 Eff cheap, Amazon Husqvarna 580364609 OEM L221A L221AHK L221AK Belt.Drive.21Eff.AWD Patio Lawn Garden cheap, Official Husqvarna L221AK 96795910100 gas lawn mower parts Sears PartsDirect cheap, Heavy Duty Drive Wheel 8 x 1.75 for Husqvarna L221AK L221AHK Lawn Mowers eBay cheap, Amazon IWIWE 582598601 Drive Cable Compatible with Husqvarna L221A L221AK LC221A 21EFF Lawn Mower Cable Part Patio Lawn Garden cheap, Husqvarna L221AK Walk Behind Mower OEM Replacement Parts From eReplacementParts cheap, Quick Delivery Husqvarna L221AK Walk Behind Mower store United States in stock cheap, Amazon SURPOUF 582598601 Drive Cable Compatible with Husqvarna L221A L221AK Lawn Replacement Part Patio Lawn Garden cheap, OEM Husqvarna L 221A L221AHK L221AK Blade Adapter cheap, Amazon TJPOTO Pack of 2 582598601 Replacement Part New Drive Cable Fits L221A L221AK for Husqvarna Tools Home Improvement cheap, SURPOUF 582598601 Drive Cable Compatible with Husqvarna L221A L221AK Lawn Replacement Part Amazon Patio Lawn Garden cheap, 4PK Drive Wheel 8 x 1.75 for Husqvarna L221AK L221AHK Lawn Mowers Walmart cheap, Replacement Part NEW 582598601 Drive Cable L221A L221AK for Husqvarna cheap, Ongisnow 582598601 LC221A Drive Control Cable for Husqvarna Craftsman Poulan L221AK Amazon Patio Lawn Garden cheap, Ko o pasowe Husqvarna LC356V LC221 L221AK 587969201 587969201 Cena Opinie 14556415181 Allegro.pl cheap, FITS FOR HUSQVARNA L 221A L221AK LC221A Drive Cable 21 Eff Awd 10.99 PicClick cheap.

L221ak cheap